The alignment of your front end is affected by much more than just the tie rod ends. The camber especially would be affected by changing the struts.
Camber is the amount of lean in or out the top of the tire has. The following image describes it pretty well:

And as you can see from the image, the process of changing the struts, could change the camber if things are not put back correctly. Before you end up wearing an odd pattern into your front tires I would suggest having the front end aligned.
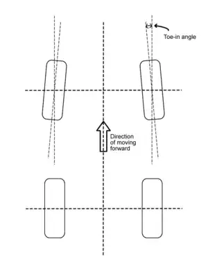
Additionally, toe or caster may have been changed. This diagrams below show what each are.

If the toe is off you could easily be driving down the road straight, but the wheel is off center.
But, it sounds like the work was done by a shop. Did they align the front end after doing the suspension work? If they did, it's not unusual for your steering wheel to no longer be perfectly straight even though the car is driving straight down the road. If the did an alignment, your fine, and this is annoying, but harmless. If they did the suspension work but did not do an alignment, you should have one done VERY soon before you start scrubbing rubber off your front tires.
I hope that helps!