7

Recently I learned that even more things other than the ones already mentioned here can effect the power curve that is produced by the engine.

Here is an example of one.

I understand that there are intake and outlet valves that can open and close at specific intervals in order for the 4-stroke process to occur inside the cylinder.

  • What exactly is meant by cylinder head intake/exhaust port volume?
  • How can this affect the power curve of the engine?
Max Goodridge
  • 7,957
  • 19
  • 53
  • 105

2 Answers2

5

What exactly is meant by cylinder head intake/exhaust port volume?

The amount of air that can pass through the intake or exhaust ports as well as the amount of resistance (back pressure) that is required to get to the particular flow quantity. You are trying to reduce the back pressure (energy) required to get to your desired flow rate.

There are two ways of looking at this.

  • The volume of air that is capable of passing through the exhaust or intake valve at it's maximum open state from the cam. So, valve in the head.

  • the volume of air that is capable of passing through the exhaust or intake valve with the valve not in the head.

Personally, I never port a head with the valve out method, in terms of measuring. It's a fake number IMO and doesn't apply.

How can this affect the power curve of the engine?

This is too broad because the variables are so vast.

Ultimately you can effect bottom end power or top end power, it just depends on what you are trying to achieve. Air flowing at high rates through a head and over valves acts differently and various speeds measured in CFM (cubic feet per minute). Cutting away material at particular points in the port will have varying effects on power curve depending on what you remove or don't remove.

Typically, the better the head port volume or CFM flow through ports the better the volumetric efficiency, the better the volumetric efficiency the more potential power the ICE can convert.

DucatiKiller
  • 32,976
  • 22
  • 150
  • 267
3

From doing some reading here: http://www.jegs.com/tech-articles/cylinder-heads.html it looks like what you are referring to the size of the values and the amount of lift they get. Here's a couple of pictures that should help.

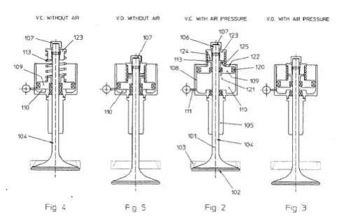
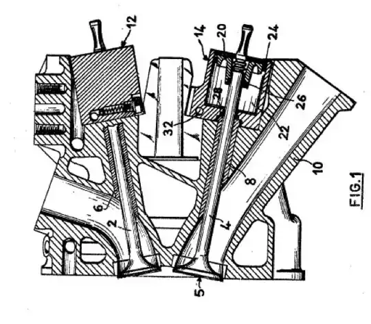
Basic Valve Configuration

This is the setup for basic overhead cam operation. Here's another, simpler diagram that shows what happens when the valves open and close.

Valves in operation

In this figure you can see that the volume of the valve is proportional to how big around the valve is, and how far the valve is opened. A large valve that only opens a small amount would still have a small volume.

As for how this affects the power curve the more air you get into and out of the engine the more power you generate. There are trade offs though as a really large cross sectional area in the intake path will yield a large volume of air, but at a low velocity. That will provide a lot of power, but only at RPM that are too high for the street. Your throttle response would be sluggish at street level RPMs. The reading at the above link talks about the intake path, including the valve volume, as being tuned for the response you want by getting good velocity and good volume.

All of this is dependent on the engine too since bigger displacement engines need more air, and so different tuning (cross sectional area, length, etc) of the intake and exhaust paths.

I hope that helps!

Pᴀᴜʟsᴛᴇʀ2
  • 165,084
  • 32
  • 259
  • 508
cdunn
  • 9,326
  • 8
  • 44
  • 76