Fuel Galley's in the Carburetors are Clogged
The Aprilia Pegaso uses a constant velocity carburetor with many small fuel and air galley's within it for various circuits. The Pegaso carburetor, as it is a CV carburetor, has diaphragms for the slide operation and automatic AFR adjustment at various altitudes/air pressures.
With the carbs assembled, lift the slide in the venturi and let it drop. It should drop slowly and provide resistance when you push it up. Do this several times in quick succession. You should be able to feel vacuum resistance that let's off quickly. The slide should not just rise up in the venturi without any resistance. If one of the two slides doesn't function as the other does. You will want to inspect both of them to discover the delta. Typically a tear in the CV boot OR gummy fuel buildup along the perimeter of the slide or the bore of the slide block can be the cause of this.
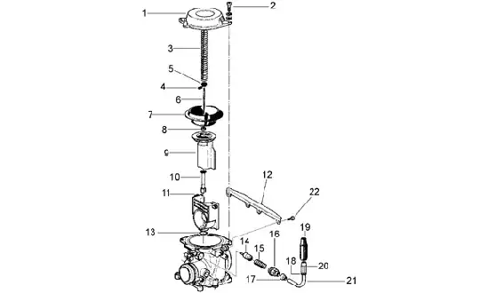
Number 7 in Image 2 - You will want to inspect your diaphragm for the CV carb for any tears or punctures. You can roll the rubber across your finger to inspect for a split. You can also use a liquid to see if you have a hole and allow the slide to sit with the diaphragm upright. A tear in the CV diaphragm will cause the engine to run very poorly and act as if it is air starved.
Number 11 in Image 2 - This is the slide block where your CV slide fits into. Check the inner portion of this for rough edges and any gummy buildup. Clean this surface well as well as the slide to ensure smooth operation.
Soak Your Carbs
If the CV weren't the issue then disassembe the carbs completely and soak them in carburetor cleaner.
You can use this.
Soak all of the components, not more than 20 minutes. Turn them over every couple of minutes so air can escape any galley's or jets and get soaked. It will strip paint if you have the black carburetors.
Use a carburetor cleaner with small hose that can get into jets and galleys and squirt out every single one you can find in both directions. If you discover blockage use a think piece of a copper wire to push the blockage aside. Look through your jets into a light to ensure the entire diameter of the hole is open. Follow this up with compressed air and another round of carburetor cleaner with the small tube that can access small holes.
Being extra anal with get out any blockage and get fuel flowing again. Be patient and take your time. You can't clean it enough.
The time that the motorcycle sat is the real issue and there is most certainly remnants of bad evaporated fuel in the carburetor. The remnant is called varnish and can be difficult to dissolve. Dipping the carburetors in the parts cleaner will really help you in getting to where you need them to be. Using the carburetor cleaner with the compressed air afterward should get out any unwanted debris from the plethora of galleys and jets.
Be sure you use a fuel filter between the tank and the carbs.
Here are two images of your carbs
Image 1

Image 2
