I have a function generator IC XR2206 from EXAR. It's application circuits uses dual power supply +/-9 volts. How can I make such a 9-0-9 dual supply from a single voltage source like a battery or an adapter?
-
3It sounds like it won't affect you if you already have the device(s) but be aware the XR2206 was discontinued a few years back so you might have trouble getting them in the future. – PeterJ Aug 18 '13 at 06:56
-
3For anyone interested, XR2206 (or a clone that passes every test I could throw at it) is available on various sites including Tayda and eBay for $3 and up. In multiples of 10 units, it's $1.75 each. Exar discontinued the product in 2011 citing lack of demand, but it continues to sell (and be manufactured by someone) in crazy volumes. – Anindo Ghosh Aug 20 '13 at 17:11
-
1See my answer to How to power a circuit that needs +9VDC, GND, -9VDC?. – Transistor Jan 01 '16 at 00:35
3 Answers
A relatively painless approach, assuming you have just the requisite positive supply, say +9 Volts, would be the use of a switched-capacitor voltage converter such as the MAX1044 or ICL7660 in voltage inverting mode. The first typical operating circuit schematic in the linked datasheet shows how.
This will provide an inverted voltage supply of up to 10mA, matching the positive voltage supply, up to 10 Volts: Sufficient for XR2206 operation with a high impedance load.
For higher current requirements, other negative voltage generation modules exist from various manufacturers, typically switch mode converters.
If a supply of twice the required minimum voltage is available, another option is to simply split the supply and create a virtual ground, either using an op-amp fed from a pair of matched resistors as voltage divider, or using a dedicated rail splitter part such as the Texas Instruments TLE2426.
This article provides some ideas on virtual ground / rail splitter circuits.
- 50,446
- 8
- 105
- 201
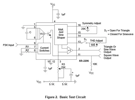
The XR2206 works just fine off a single supply without any kind of rail splitting, you just need to read the datasheet. Figure 2 shows a single supply example.

If you go this route, be mindful of the minimum single supply voltage.

Also, a word of caution: the XR2206 is several years obsolete. Do not use it for anything that you may want to put into production.
- 13,844
- 5
- 34
- 61
-
4While the XR2206 is officially discontinued, it is a truly brilliant piece of analog wizardry. That might be why it is available in bulk in no-name clone form even today. It remains a very popular part for various designs, and the waveforms are creamy smooth. I have a few XIC2206 parts that I picked up for under $0.80 each, and they work great. – Anindo Ghosh Aug 18 '13 at 03:11
-
1@AnindoGhosh I am perfectly aware. The first PCB I designed was a function generator based around the 2206. Just because a discontinued part is good doesn't mean it should be used for new designs. – Matt Young Aug 18 '13 at 03:44
-
@MattYoung +1 for this info. I was unaware of the fact that I can drive XR2206 with a single voltage source. Just for the sake of the question, I'm accepting Ghosh's answer. – C-- Aug 18 '13 at 15:07
For a quick and simple dual power supply, use two resistors in series connected in parallel with two capacitors. Connect the two ends to the battery or power source and BAM! You have a dual power supply. Typical values for bipolar converters like this are 100k-1M for the resistors and 47uf to 4700uf depending on the current draw of your circuit.

simulate this circuit – Schematic created using CircuitLab
Note:!!! Make sure the negative rail of your power supply is not connected to ground! Use the continuity setting on your DMM to check !!!
- 1,009
- 1
- 7
- 15
-
4
-
4Add a voltage follower opamp / unity gain to your circuit and you'll probably turn it in an upvoted answer. – jippie Aug 17 '13 at 19:48
-
1@jippie The buffered voltage divider is already covered in my answer. – Anindo Ghosh Aug 18 '13 at 03:13
-
6This actually works really well to power a part. I've used these to power (approx) +-15V rails at 30W with less than 100mv voltage droop in the past. I was using something like 47mF caps. Is it a good design? - Nope! But it does the job if you are in a pinch and it's all you have on hand. – OhmArchitect Aug 20 '13 at 22:28
-
1@OhmArchitect No. I can't work well to power a part. Indeed, you may be able to draw some power for a few ms without the rails dropping too much, if you have enough capacitance. But if you draw significant power constantly and if the power drawn from both rails is not symmetrical, you'll see your mid-rail quickly moving away from the middle. Especially with resistors as high as 100k. – dim Jul 22 '16 at 12:27
-
Decuplage capacitors are not needed at all. resistors are fast enough to prevent ripples, trust me! – pylover Mar 11 '20 at 15:24
-
@OhmArchitect As dim says, once you start drawing current, your "GND" line will no longer be half way between 4.5V and -4.5V. There is no way that you could be drawing 30W through GND with a +/- 15V supply rail. The current through R1 must be only 0.15mA - nothing like enough for a 30W load. The only way (and it is really bad as it is very power hungry) that you could have anything like a stable supply for general powering of circuits is to have small resistors for R1 and R2. Then any additional current drawn by GND will not have a significant impact on the voltage drops across them. – Dave Oct 08 '21 at 15:16