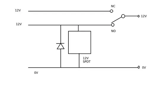
I am new to circuits and have a very basic knowledge, and am currently interested in building a simple circuit that would take 2 DC inputs each of 12V 1.5A and output 1 x 12V 1.5A input even if 1 of the inputs fails.
I believe the inputs will have to be regulated and stabilized such that the output is always 12V and 1.5A. The aim of the circuit will server as an automatic transfer switch between the the sources for use with a computer modem.
Would appreciate your help in guiding me where to look at and start with.

