| Focal and diffuse brain injury | |
|---|---|
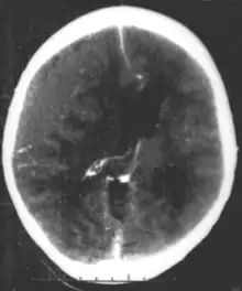
![]() | |
| Epidural hematoma, an example of a focal injury |
Focal and diffuse brain injury are ways to classify brain injury: focal injury occurs in a specific location, while diffuse injury occurs over a more widespread area. It is common for both focal and diffuse damage to occur as a result of the same event; many traumatic brain injuries have aspects of both focal and diffuse injury.[1] Focal injuries are commonly associated with an injury in which the head strikes or is struck by an object; diffuse injuries are more often found in acceleration/deceleration injuries, in which the head does not necessarily contact anything, but brain tissue is damaged because tissue types with varying densities accelerate at different rates.[2] In addition to physical trauma, other types of brain injury, such as stroke, can also produce focal and diffuse injuries.[1] There may be primary and secondary brain injury processes.
Focal
A focal traumatic injury results from direct mechanical forces (such as occur when the head strikes a windshield in a vehicle accident) and is usually associated with brain tissue damage visible to the naked eye.[3] A common cause of focal injury is penetrating head injury, in which the skull is perforated, as frequently occurs in auto accidents, blows, and gunshot wounds.[3] Focal injuries typically have symptoms that are related to the damaged area of the brain.[3] Stroke can produce focal damage that is associated with signs and symptoms that correspond to the part of the brain that was damaged.[1] For example, if a speech center of the brain such as Broca's area is damaged, problems with speech are common.
Focal injuries include the following:
- Cerebral contusion is a bruise of brain tissue that commonly results from contact of the brain with the inside of the skull.[4]
- Cerebral laceration is a brain injury in which the pia-arachnoid is torn.[4]
- Epidural hemorrhage is bleeding between the dura mater and the skull.[4] It is commonly associated with damage to the middle meningeal artery, often resulting from a skull fracture.
- Subdural hemorrhage is bleeding between the dura mater and the arachnoid.[4]
- Intracerebral hemorrhage is bleeding within the brain tissue itself.[4]
- Intraventricular hemorrhage is bleeding within the ventricles of the brain.[4]
Diffuse
Diffuse injuries, also called multifocal injuries, include brain injury due to hypoxia, meningitis, and damage to blood vessels.[2] Unlike focal injuries, which are usually easy to detect using imaging, diffuse injuries may be difficult to detect and define; often, much of the damage is microscopic.[4] Diffuse injuries can result from acceleration/deceleration injuries.[2] Rotational forces are a common cause of diffuse injuries;[5] these forces are common in diffuse injuries such as concussion and diffuse axonal injury. The term "diffuse" has been called a misnomer, since injury is often actually multifocal, with multiple locations of injury.[2]
Diffuse injuries include the following:
- Diffuse axonal injury is widespread damage to the white matter of the brain that usually results from acceleration/deceleration types of injury.[4]
- Ischemic brain injury resulting from an insufficient blood supply to the brain, is one of the leading causes of secondary brain damage after head trauma.[4]
- Vascular injury usually causes death shortly after an injury.[4] Although it is a diffuse type of brain injury itself, diffuse vascular injury is generally more likely to be caused by focal than diffuse injury.[4]
- Swelling, commonly seen after TBI, can lead to dangerous increases in intracranial pressure.[4] Though swelling itself is a diffuse type of injury, it can result from either focal or diffuse injury.[4]
See also
References
- 1 2 3
Lovell MK, Franzen MD (1994). "Neuropsychological assessment". In Silver JM, Yudofsky SC, Hales RE (eds.). Neuropsychiatry of Traumatic Brain Injury. Washington, DC: American Psychiatric Press. pp. 152–3. ISBN 0-88048-538-8. Retrieved 2008-06-17.
Although brain injuries are often described as diffuse or focal in nature, in reality many traumatic brain injuries have both focal and diffuse components.
- 1 2 3 4 Gennarelli GA, Graham DI (2005). "Neuropathology". In Silver JM, McAllister TW, Yudofsky SC (eds.). Textbook Of Traumatic Brain Injury. Washington, DC: American Psychiatric Association. pp. 27–34. ISBN 1-58562-105-6. Retrieved 2008-06-10.
- 1 2 3 LaPlaca MC, Simon CM, Prado GR, Cullen DR (27 July 2007). "CNS injury biomechanics and experimental models". In Weber JT (ed.). Neurotrauma: New Insights Into Pathology and Treatment. p. 16. ISBN 978-0-444-53017-2. Retrieved 2008-06-10.
- 1 2 3 4 5 6 7 8 9 10 11 12 13 Granacher RP (2007). Traumatic Brain Injury: Methods for Clinical & Forensic Neuropsychiatric Assessment, Second Edition. Boca Raton: CRC. pp. 26–33. ISBN 978-0-8493-8138-6. Retrieved 2008-07-06.
- ↑ Hammeke TA, Gennarelli TA (2003). "Traumatic brain injury". In Schiffer RB, Rao SM, Fogel BS (eds.). Neuropsychiatry. Hagerstown, MD: Lippincott Williams & Wilkins. p. 1150. ISBN 0-7817-2655-7. Retrieved 2008-06-16.
