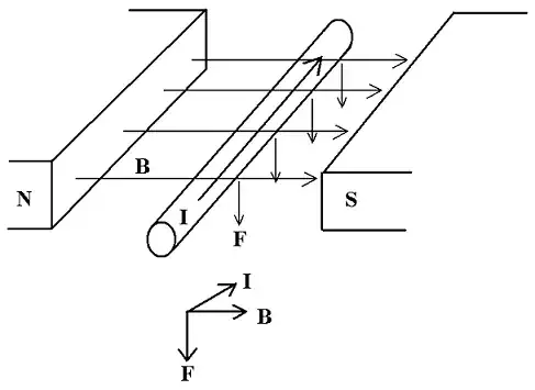
May I know if we have a current flowing through a wire, and the wire is between two strong magnets. The wire would experience a force called the Lorentz Force given by F = IxB, or F equals I cross B. Based on Newton's third law of motion, will the magnets also feel a force in the opposite direction of the wire?
In this case the wire is feeling a downward force. But by Newton's third law of motion will the magnetic around it feel an upward force?
