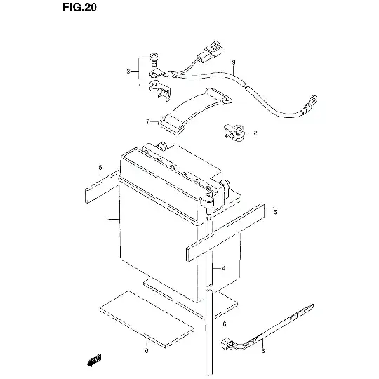
This Suzuki ATV battery requires a special kind of right angle terminal attached to the battery. Items 2 and 3 in the figure:

Here's a close up of what one looks like:

I don't have the terminals and one terminal costs $3, plus shipping. I really don't want to pay over $12 for two of these little things.
I could swap out the battery but I just bought it and it's brand new.
I thought about bending the ring connectors on the existing wires but that would probably break them, and it would be difficult (if not impossible) to get a tight fit on the terminal.
Is there a cheaper alternative I could replace the terminals with?